Abbildung ähnlich
Solarfocus-Austria

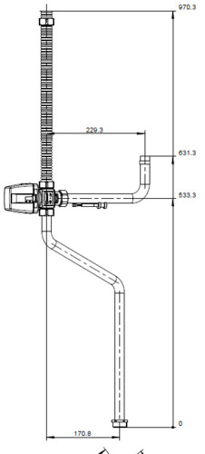
Solarfocus FWM-Rücklaufumschaltung für hydrotower PVmax, mit Fühler und 3-Wegemotorventil

263809 130415
auf Anfrage
je 1 STCK
keine Verfügbarkeitsinformationen

Folgeartikel

Dieser wird automatisch Ihrem Warenkorb hinzugefügt.

Verkaufsdaten

Mindestbestellmenge 1 STCK
Bestellschritt 1 STCK

Beschreibung

verhindert eine Durchmischung des Speichers durch hohe Rücklauftemperaturen bei Zirkulationsbetrieb, Komplett mit Fühler und 3-Wegemotorventil, nur in Verbindung mit hydrotower PVmax einsetzbar

Merkmale

Produktklasse Zusatzartikel